Assuming Bell can make this technology translate to useable functionality, I would not be surprised to see not only new platforms proposals but potentially a retrofit to existing platforms.
 
Last edited:

Systems and methods for aerial aircraft resupply​

Abstract​

An aerial resupply system (ARS) including a supply aircraft. The supply aircraft includes at least one of supply fuel, an ordinance, and data. The supply aircraft also includes a retractable boom system (RBS) configured for selective stowage within a fuselage of the supply aircraft and configured to supply at least one of supply fuel, the ordinance, and data to a location external to the fuselage.

US20210139161A1

...... I think I know both of you.

US20210139161A1_01.jpg

hsvtol_close-up.jpg
 

Attachments

  • US20210139161A1_007.jpg
    US20210139161A1_007.jpg
    397.1 KB · Views: 97
  • US20210139161A1_006.jpg
    US20210139161A1_006.jpg
    562.3 KB · Views: 79
  • US20210139161A1_005.jpg
    US20210139161A1_005.jpg
    192.4 KB · Views: 74
  • US20210139161A1_004.jpg
    US20210139161A1_004.jpg
    421.9 KB · Views: 67
  • US20210139161A1_003.jpg
    US20210139161A1_003.jpg
    665.7 KB · Views: 73
  • US20210139161A1_002.jpg
    US20210139161A1_002.jpg
    633.6 KB · Views: 99
Bell has released new renderings.
Links:
 

Attachments

  • 20241205_Bell_Stop-fold-rotor-sprint-rendering.jpg
    20241205_Bell_Stop-fold-rotor-sprint-rendering.jpg
    563.7 KB · Views: 85
I suspect that the email lines between Quantico VA and Arlington TX are getting a work out.
 

Attachments

  • US12202600_13.jpg
    US12202600_13.jpg
    183.8 KB · Views: 61
  • US12202600_10.jpg
    US12202600_10.jpg
    237.3 KB · Views: 66
  • US12202600_06.jpg
    US12202600_06.jpg
    236 KB · Views: 66
  • US12202600_03.jpg
    US12202600_03.jpg
    268.5 KB · Views: 68
  • US12202600_01.jpg
    US12202600_01.jpg
    279.1 KB · Views: 73
No way!

I can already hear the screams of the maintenance guys.
 
No way!

Maybe it would make more sense to focus on how to marry swept wing with tilt rotor without having the whole assembly (wing, cross shafts, cowls etc) essentially articulating. If the issue is thrust offset of the tips to the Cog maybe there is a case for a ducted fan in the nose. With modern multiphase electrification and twin fans in the duct this could hit the required reliability without cross shafting.

P. S. I can't stop myself from hitting send but I can already sense the artillery response incoming
 
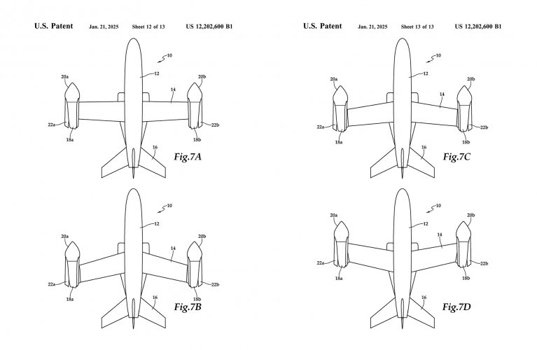
Do I am correct that the wing is swept only with the prop rotor shut? IMOHO, there is no difference with an articulated pylon such as the ones already present on an F-111.
 
Do I am correct that the wing is swept only with the prop rotor shut? IMOHO, there is no difference with an articulated pylon such as the ones already present on an F-111.
Making a major element if the aircraft mass pivot right on the end of the wing tip? I know the F-111 can/could pivot drop tanks and SRAMs but that's something few/none(?) of the other SW aircraft did. All the same fair play they think it's worth a patent. I guess we'll find out when the Chinese fly theirs in 3 years time.
 
Getting a patent and building something are two different things. Bell Flight likely is just getting the rightsfor the engineer(s) who developed it.
Quite agree. If all it took was a patent life would be so much simpler. In principle it's patentable and especially for the stopped rotor tech. Makes sense. Arguably the same advantage for electrification of ancillary fans could be made for replacement of the cross shafting with hybrid-electric power transmission. Maybe not so crazy. Before anyone tells me transferring 6000shp by electric drives is impractical, I'd say it's challenging.
 
Why can’t we go back to a taildragger like do28 and work that up to vtol.

All this useless weight is going to hit payload, plus batteries, even for 10 mins of power, is going to be a Tesla sized pack, all unused once you go to horizontal flight. What about the geared fans we were all going to be using from the 90’s?
 
No way!


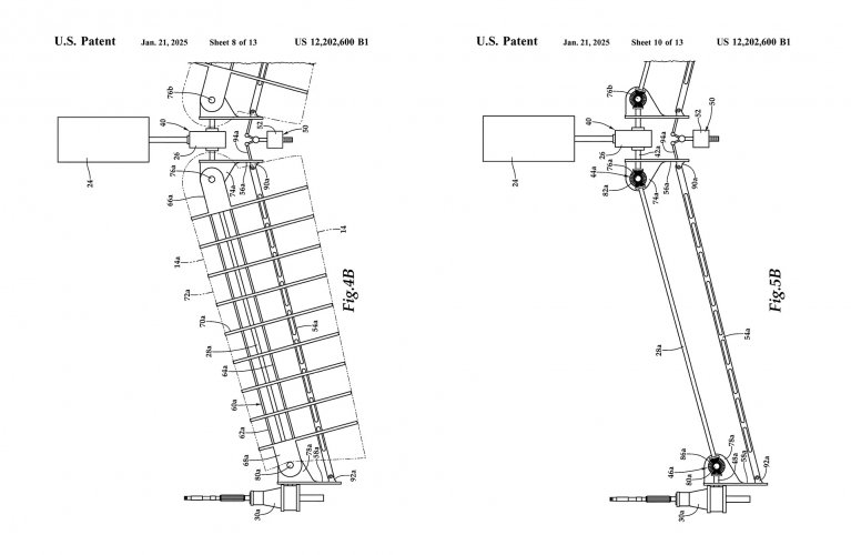
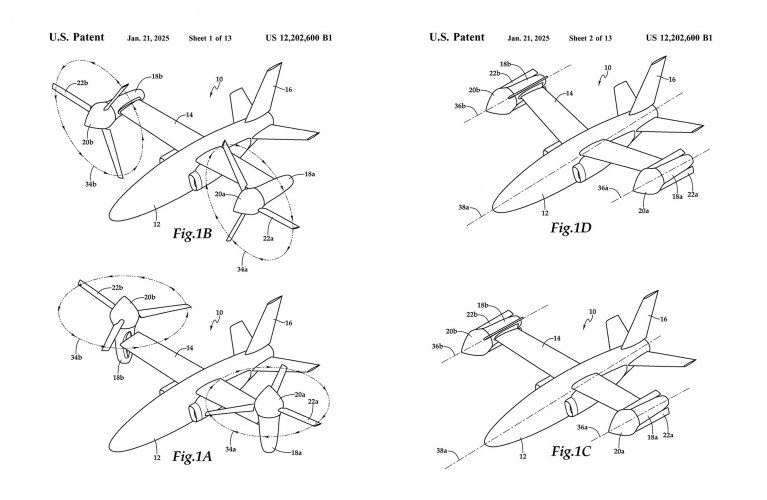
If you look closely at how the power gets transmitted through the wing via driveshafts on sets of bevel gears, this patent allows wing articulation without disconnection of the drive shafts, as well as maintaining the pylon angle parallel to the fuselage. Tricky part would probably be details of fairing the wing into the fuselage.

A swept wing solves a major issue for HSVTOL transonic flight due to compression drag with straighter wings, which are usually a necessity for conventional tiltrotors to maintain clearance from the rotor flapping range to the wing leading edge. With stopped and folded rotors, you can now sweep them with no clearance requirements

Getting a patent and building something are two different things. Bell Flight likely is just getting the rights for the engineer(s) who developed it.

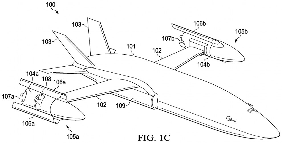
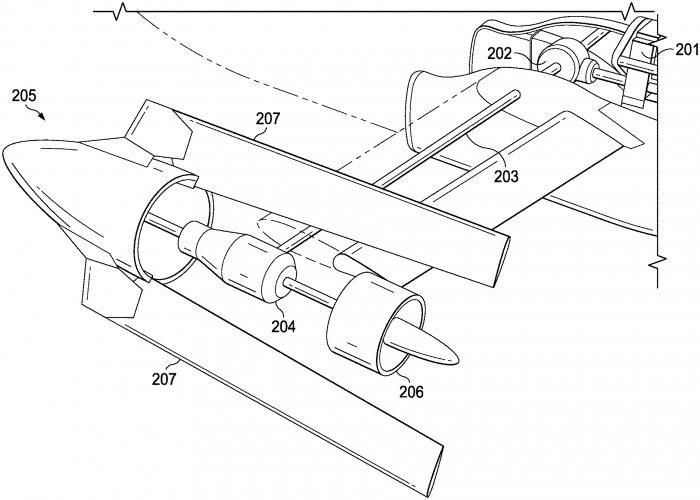
Seems the same engineer is on quite a few related patents. This one uses a 2 bladed rotor to provide clearance for an air intake on the pylon side that feed aft-mounted ducted fans for aux thrust in cruise flight. They appear to use a shiftable rear-facing power takeoff shaft from the proprotor gearbox so they plus the lift engine and drivetrain aren't just dead weight in cruise.

 

Attachments

  • US11325719-20220510-D00003.png
    US11325719-20220510-D00003.png
    32.2 KB · Views: 41
  • US11325719-20220510-D00005.png
    US11325719-20220510-D00005.png
    25.2 KB · Views: 37
  • US11325719-20220510-D00000.png
    US11325719-20220510-D00000.png
    33.1 KB · Views: 29
  • US11325719-20220510-D00004.png
    US11325719-20220510-D00004.png
    38.1 KB · Views: 31
Waaaaait a minute... so the plan is
- to start from something like a V-280 (where the engines don't tilt, just the props)
- folds the props in flight, along the nacelles
- and then go full Learjet / bizjet style ? with turbofans in rear nacelles ?

Daring enough, it may work... or not.

Before quadcopters (and many other drones / aerodynamic heresies / abominations) flew I wouldn't have bet on folding props in flight.

With algorithms to tame instability, however, even cast irons and pigs could fly so maybe it is possible ?

Seriously - I kind of like the idea.
A- Liftoff V-280 style
B- then lit the turbofans, gradually accelerate to 150-200-250 miles per hour: fast enough to fly like a Learjet, except a Learjet with huge wingtip propellers (!)
1- with the props, first, disconnecting from the turbines
2- then windmill / feather the props as if the turbine was dead (as done on piston and tuboprop aircraft for decades and decades)
3- gradually fold the blades along the nacelles
4- fly like a F-89 Scorpion: an aircraft that is proof that having huge wingtip pods is not a major issue.

What is really interesting is
a) we know that propellers-and-jet aircraft flies well since the 1940's at least (Ryan Fireball, B-36H...)
b) we know that helicopter-with-jet can also fly pretty fast (XH-59 flew at 250 mph, Cheyenne, many others)
c) the Bell V-280 is the necessary step beyond the CL-84 (tilt-wing) and V-22 (tilt-turbines) to make this happen: it is kind of "tilt-propellers-

Welcome to the X-76 Sprint




IMG_6547.jpeg
 

 
Last edited:

Similar threads

Back
Top Bottom